陶瓷霧化片 Atomization Piece
陶瓷晶振 Ceramic SMD crystal
陶瓷濾波器 CeramicFilter
聲表面濾波器|諧振器 SAW filter
千赫晶體KHZ KHz Crystal
石英晶振 Quartz Crystal
貼片晶振 SMD crystal
NJR晶振
應達利晶振
日本大真空晶體 KDS晶振
精工晶振 SEIKO晶體
日本村田陶瓷晶振
西鐵城晶振 CITIZEN晶振
愛普生晶振 EPSON晶振
NSK晶振 NSK晶振
大河晶振 大河晶振
CTS晶振 美國CTS晶振
TXC晶振 TXC晶振
鴻星晶振 鴻星晶振
加高晶振 加高晶振
百利通亞陶晶振 百利通亞陶晶振
泰藝晶振 泰藝晶振
京瓷晶振 京瓷晶振
NDK晶振 NDK晶振
希華晶振 希華晶振
富士晶振 富士晶振
MERCURY晶振
NAKA晶振
SMI晶振
安基晶振
NKG晶振
Renesas瑞薩晶振
ITTI晶振
CTS晶振
Abracon晶振
微晶晶振
瑞康晶振
FOX晶振
Statek晶振
ECS晶振
IDT晶振
高利奇晶振
SiTime晶振
日蝕晶振
康納溫菲爾德晶振
Jauch晶振
維管晶振
拉隆晶振
格林雷晶振
Pletronics晶振
AEK晶振
AEL晶振
Cardinal晶振
Crystek晶振
Euroquartz晶振
Frequency晶振
GEYER晶振
ILSI晶振
KVG晶振
MMDCOMP晶振
MtronPTI晶振
QANTEK晶振
QuartzCom晶振
QuartzChnik晶振
SUNTSU晶振
Transko晶振
WI2WI晶振
韓國三呢晶振
ARGO晶振
ACT晶振
Milliren晶振
韓國Lihom晶振
rubyquartz晶振
美國Oscilent晶振
韓國SHINSUNG晶振
PDI晶振
C-TECH晶振
IQD晶振
Microchip晶振
Fortiming晶振
CORE晶振
NIPPON晶振
NIC晶振
QVS晶振
Bomar晶振
Bliley晶振
GED晶振
FILTRONETICS晶振
STD晶振
Q-Tech晶振
Anderson晶振
Wenzel晶振
NEL晶振
EM晶振
德國PETERMANN晶振
荷蘭FCD-Tech晶體
HEC晶振
FMI晶振
Macrobizes晶振
德國AXTAL晶振
Silicon晶振
SKYWORKS晶振
DEI晶振
石英晶體振蕩器 石英晶體振蕩器
壓控晶振 壓控晶振
溫補晶振 溫補晶振
壓控溫補晶振 壓控溫補晶振
恒溫晶振 恒溫晶振
差分晶振 差分晶振
32.768K有源晶振 32.768K有源晶振
座機: 0755-27876565
手機: 18924600166
E-mail:yijindz@163.com
QQ:857950243
地址:深圳市寶安區新安107國道旁甲岸路
Raltron晶振,POE-A,POE-B晶振,高頻聲表面濾波器

.jpg)
Raltron晶振,POE-A,POE-B晶振,高頻聲表面濾波器是由鋯鈦酸鉛陶瓷材料制成的,把這種陶瓷材料制成片狀,兩面涂銀作為電極,經過直流高壓極化后就具有壓電效應。起濾波的作用,具有穩定,抗干擾性能良好的特點,廣泛應用于電視機、錄像機、收音機等各種電子產品中作選頻元件。它具有性能穩定、無需調整、價格低等優點,取代了傳統的LC濾波網絡。
主要利用陶瓷材料壓電效應實現電信號→機械振動→電信號的轉化,從而取代部分電子電路中的LC濾波電路,使其工作更加穩定。
目前,陶瓷濾波器的結構有二端和三端兩大類。
彩電中的帶通濾波器常用型號有LT5.5M、LT6.5M、LT6.5MA、LT6.5MB陶瓷濾波器;調頻立體聲收錄機、收音機常用的10.7MHz中頻濾波器有LT10.7MA、LT10.7 MB、LT10.7MC等,調幅收音機的中頻濾波器有LT455、LT465等。
彩電中的帶阻濾波器(陷波器)常用型號有XT4.43M、XT5.5MA、XT5.5MB、XT6.0MA、XT6.0MB、XT6.5MA、XT6.5MB等。
質量
Raltron(RAMI Technology)致力于以有競爭力的價格按時交付產品,以滿足或超過客戶的期望和需求。我們將通過與客戶、員工和供應商保持高質量標準的合作關系來實現這些目標。我們的質量管理體系和目標將提供框架,以確保定期評估所有要求,以持續改進和確保客戶滿意度。Raltron的名稱必須向我們的客戶代表質量,并且將作為Raltron的性能標準。
對質量的承諾
RAMI a Technology(Raltron)質量體系面向客戶服務,從生產過程中與客戶初次接觸開始,一直到產品交付和售后支持。持續改進是RALTRON致力于成為客戶的頻率控制元件的全方位服務供應商的基礎。

.jpg)


質量
Raltron(RAMI Technology)致力于以有競爭力的價格按時交付產品,以滿足或超過客戶的期望和需求。我們將通過與客戶、員工和供應商保持高質量標準的合作關系來實現這些目標。我們的質量管理體系和目標將提供框架,以確保定期評估所有要求,以持續改進和確保客戶滿意度。Raltron的名稱必須向我們的客戶代表質量,并且將作為Raltron的性能標準。
對質量的承諾
RAMI a Technology(Raltron)質量體系面向客戶服務,從生產過程中與客戶初次接觸開始,一直到產品交付和售后支持。持續改進是RALTRON致力于成為客戶的頻率控制元件的全方位服務供應商的基礎。

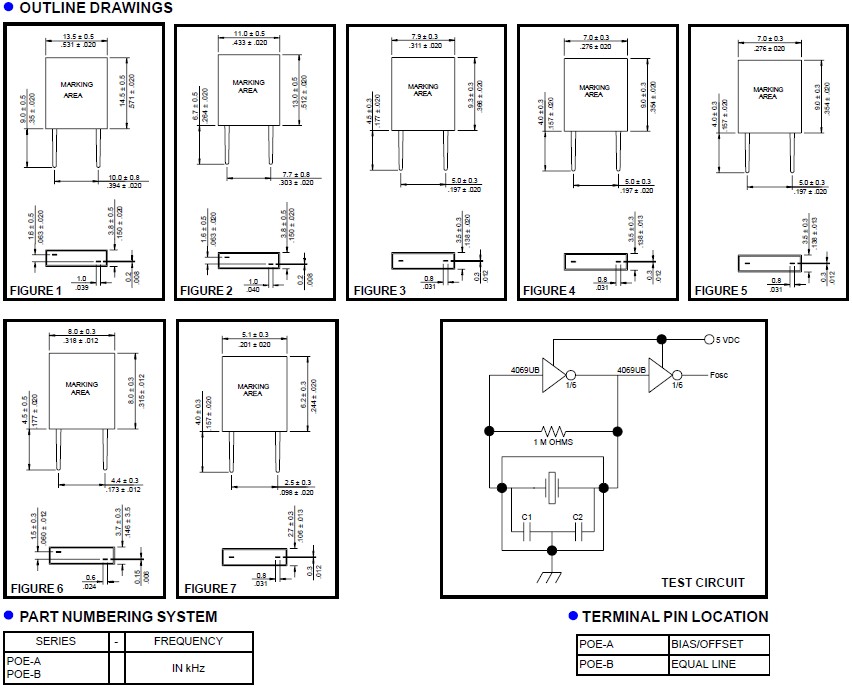
| FREQUENCY RANGE | 190 - 249 khz | 250 - 374 kHz | 375 - 429 kHz | 430 - 509 kHz | 510 - 649 kHz | 650 - 767 kHz | 768 - 1250kHz |
| SERIES | POE-A | POE-A | POE-B | POE-B | POE-B | POE-A | POE-B |
| DIMENSIONS | FIGURE 1 | FIGURE 2 | FIGURE 3 | FIGURE 4 | FIGURE 5 | FIGURE 6 | FIGURE 7 |
| EXTERNAL CAPACITANCE | 330pF | 220pF | 120pF | 100pF | 100pF | 100pF | 100pF |
| 470pF | 470pF | 470pF | 100pF | 100pF | 100pF | 100pF | |
| FREQUENCY TOLERANCE AT 25° C | ±0.5% | ±0.5% | ±0.3% | ±0.3% | ±0.3% | ||
|
FREQUENCY STABILITY OVER TEMPERATURE RANGE |
±1 kHZ | ±1 kHZ | ±2 kHZ | ±2 kHZ | ±2 kHZ | ±2 kHZ | ±2 kHZ |
| OPERATING TEMPERATURE RANGE | -20°C TO 80°C | ||||||
| FREQUENCY AGING (10 YEARS) | ±0.5% | ±0.5% | ±0.5% | ±0.5% | ±0.5% | ±0.5% | ±0.5% |
.jpg)

Raltron晶振,POE-A,POE-B晶振,高頻聲表面濾波器檢測
可用萬用表進行檢測,具體方法如下:
可用萬用表進行檢測,具體方法如下:
1.萬用表置R×10k檔;
2.用紅、黑表筆分別測二端或三端陶瓷濾波器任意兩腳之間的正、反向電阻均應為∞,若測得阻值較小或為0Ω,可判定該陶瓷濾波器已損壞; 需說明的是,測得正、反向電阻均為∞不能完全確定該陶瓷濾波器完好,業余條件下可用代換法試驗。
對環境的承諾
Raltron致力于環境保護和自然資源保護,我們的生產設施已通過ISO14001環境管理標準注冊。Raltron的制造業務不含消耗臭氧層物質,在適用的情況下,產品不含客戶要求和/或國際法規(如RoHS和REACH)規定或禁止使用的任何有害物質。
Raltron–沖突礦產政策聲明
作為頻率控制產品的供應商,Raltron在我們生產的產品中使用了某些礦物質,制造商而Raltron則要求我們的所有供應商遵守電子行業的規定行為準則,僅從環境和社會責任部門獲取材料供應商,我們認識到與某些礦物有關的復雜供應鏈,并采取了措施確保我們購買的原始金屬不會源自沖突礦山。”沖突采礦”或“沖突金屬”或“沖突礦產”指的是對該地區某些礦山的非法控制
非洲剛果民主共和國東部地區。電子工業使用某些類型的金屬,其中一些可能是從這些金屬中獲得的礦物中提煉出來的。

公司:深圳市億金電子有限公司
SHENZHEN YIJIN ELECTRONICS CO;LTD
電話:0755-27876565
手機:18924600166
QQ:857950243
郵箱:yijindz@163.com
網站:http://www.lnjyxx.com
對環境的承諾
Raltron致力于環境保護和自然資源保護,我們的生產設施已通過ISO14001環境管理標準注冊。Raltron的制造業務不含消耗臭氧層物質,在適用的情況下,產品不含客戶要求和/或國際法規(如RoHS和REACH)規定或禁止使用的任何有害物質。
Raltron–沖突礦產政策聲明
作為頻率控制產品的供應商,Raltron在我們生產的產品中使用了某些礦物質,制造商而Raltron則要求我們的所有供應商遵守電子行業的規定行為準則,僅從環境和社會責任部門獲取材料供應商,我們認識到與某些礦物有關的復雜供應鏈,并采取了措施確保我們購買的原始金屬不會源自沖突礦山。”沖突采礦”或“沖突金屬”或“沖突礦產”指的是對該地區某些礦山的非法控制
非洲剛果民主共和國東部地區。電子工業使用某些類型的金屬,其中一些可能是從這些金屬中獲得的礦物中提煉出來的。

.jpg)
.jpg)
公司:深圳市億金電子有限公司
SHENZHEN YIJIN ELECTRONICS CO;LTD
電話:0755-27876565
手機:18924600166
QQ:857950243
郵箱:yijindz@163.com
網站:http://www.lnjyxx.com





銷售代表